Gantry Laser Cleaning Dekk Mould Side Plate Workstation
Jun 07, 2023

SDQY Laser þróar sérsniðið gantry leysirhreinsibúnað fyrir hliðarplötu dekkjamóta fyrir viðskiptavini, þar á meðal ramma, sem er tengdur við snúningsplötu í gegnum XYZ þríhliða hreyfanleikabúnað, og leysir klemmubúnaður er settur upp á snúningsplötunni. , og ramminn er stilltur með rennandi hætti. Það er hreyfanlegur tilfærslubúnaður sem getur færst meðfram X áttinni og moldklemmubúnaður er tengdur við hreyfanlega tilfærslubúnaðinn. Þetta sett af búnaði getur gert sér grein fyrir sjálfvirkri alhliða hreinsun á moldinu og leyst vandamálin við að skvetta plastsand og óstöðugleika handvirkrar leysirhreinsunar meðan á notkun núverandi mismunandi dekkmótahreinsibúnaðar stendur.






1. Rekki, 2. XYZ þríhliða hreyfibúnaður, 3. Laser klemmubúnaður, 4. Tilfærslubúnaður á hreyfingu,
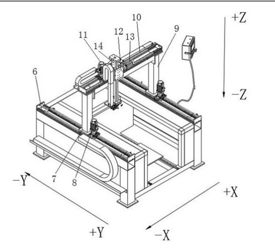
5. Mótklemmubúnaður, 6. Línuleg stýribraut Y, 7. Rennisæti Y, 8. Servómótor Y, 9, gantry, 10, línuleg stýri X,
11, servómótor X, 12, fastur rammi, 13, servómótor Z, 14, stýrisúla, 15, klemmuhólkur, 16, snúningsplata, 17, staðsetningarsæti ,
18. Laser tilfærsluskynjari, 19. Stöðugjafi, 20. Þriggjakjálka spenna, 21. Föst stöng, 22. Hringamerkjaplata, 23. Kúla, 24. Gír Y,
25. Grind Y, 27. Línuleg stýring Z, 28, snúningsmótor, 29, rennisæti X, 30, gír X, 31, fast sæti, 32, vatnskassari, 33, solid-state leysir.

